Støtterør med HVI-powerleder

Højspændingsresistent og isoleret nedleder til opretholdelse af separationsafstanden til elektrisk ledende dele efter EN 62305-3.

Anvendelig op til en tilsvarende separationsafstand s ≤ 90 cm (i luft) eller s ≤ 180 cm (solidt materiale).

Visuelt veludført montering af HVI-powerleder inden i støtterør sørger for mindre overflade udsat for vind.

Minimum ordrelængde på 6 m. Pga. ordrespecifik produktion (længde tilrettes efter ønske) kan lederen ikke returneres.

Lederlængde skal angives ved bestilling (i trin af 0,5 m).

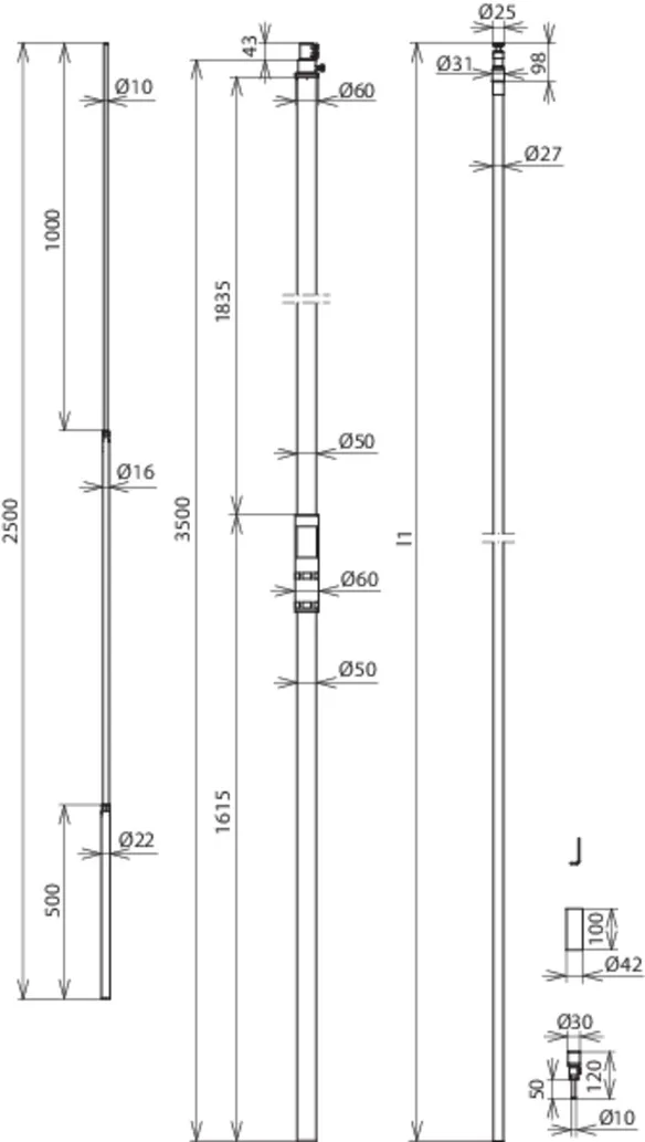
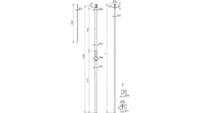
HVI-powerleder i støtterør med indfangerspids

Støtterør med indvendig endeafslutning og PA-fjederelement.
Indfangerspids i rustfrit stål, Ø10 mm, længde 1000 mm.

1 Product

Part No. 819430 HVI P 27 L6M SR3500 FSP1000 GFK V2A

GTIN 4013364152236, Customs tariff No. (EU): 85389099, Gross weight: 16.00 kg, PU: 1.00 Pakkestørrelse


Images

Additional information

HVI power-leder i støtterør, længde 3500 mm GFK/NIRO
HVI power-leder i støtterør
højspændingsfast isoleret nedleder til opretholdelse
af separationsafstanden til elektrisk ledende dele
iht. DIN EN 62305-3 (VDE 0185-305-3)
Tilsvarende separationsafstand s =< 90 cm (i luft)
eller s =< 180 cm (fast materiale).
Støtterørene med HVI power-lederen er dimensioneret iht.
Eurocode 1 (DIN EN 1991-1-4 + DIN EN 1991-1-4/NA).
HVI power-leder i støtterør, med speciel indvendigt ført
endeafslutning og indfangerspids Ø10 mm, længde 1000 mm.
Materiale (støtterør): GFK / Rustfrit
Længde (støtterør): 3500 mm
Transportlængde: 3500 mm
Diameter Ø leder: 27 mm
Farve (leder): Sort ●
Materiale (leder): Cu
Min. bestillingslængde: 6 m
Max. bestillingslængde: 35 m
Max. frilængde med indfangerspids (vægmontage): 3500 mm
Maks. vindstyrke: (maks. frilængde 3500 mm, 1x HVI power indvendigt) 234 km/t
Standarder: DIN IEC/TS 62561-8 (VDE V 0185-561-8)

fabrikat: DEHN
Type: HVI P 27 L6M SR3500 FSP1000 GFK V2A
artikelnr.: 819430
eller tilsvarende

Certificates

 

Technical data

Materiale (støtterør) GFK / Rustfrit
Længde (støtterør) 3500 mm
Transportlængde 3500 mm
Diameter Ø leder 27 mm
Farve (leder) Sort ●
Materiale (leder) Cu
Min. bestillingslængde 6 m
Max. bestillingslængde 35 m
Egnet til lederføring udenpå rør Nej
Max. frilængde med indfangerspids (vægmontage) 3500 mm
Standarder DIN IEC/TS 62561-8 (VDE V 0185-561-8)

Product 819430 was added to Notepad.

Product 819430 was added to the cart.


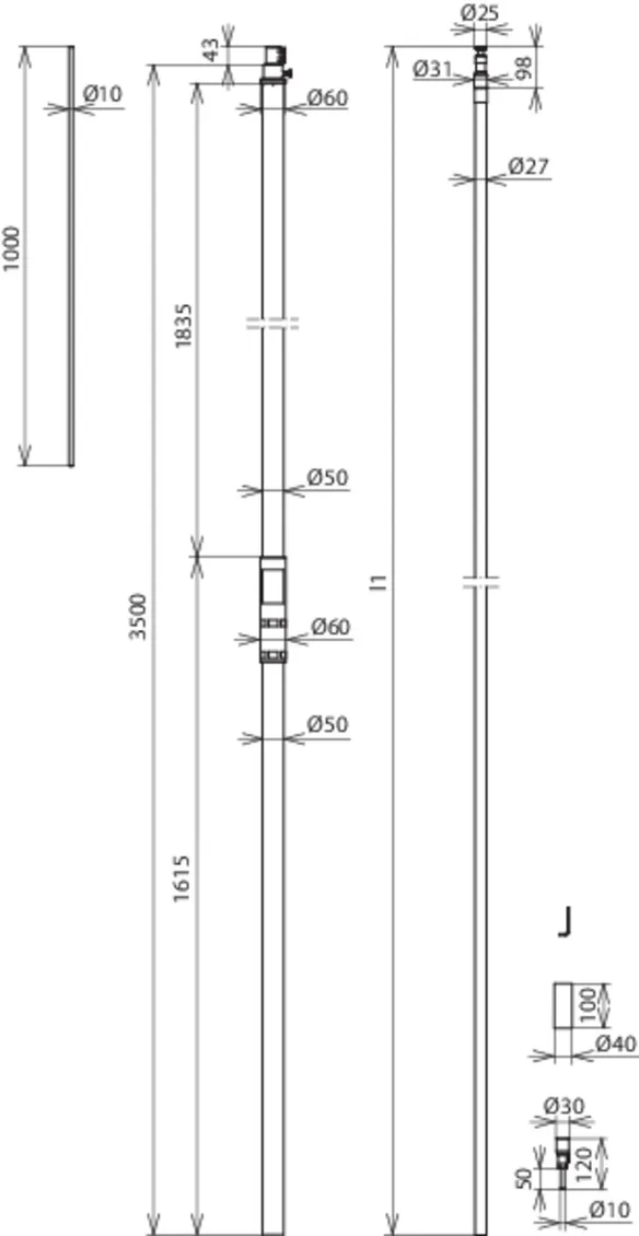
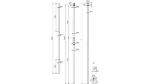
HVI-powerleder i støtterør med indfangerstang

Støtterør med indvendig endeafslutning og PA-fjederelement.
Indfangerstang i rustfrit stål, Ø22 / 16 / 10 mm), længde 2500 mm.

2 Products

Part No. 819431 HVI P 27 L6M SR3500 FS2500 GFK V2A

GTIN 4013364155442, Customs tariff No. (EU): 85389099, Gross weight: 17.60 kg, PU: 1.00 Pakkestørrelse


Images

Additional information

HVI power-leder i støtterør med indfangerstang, længde 3500 mm GFK/NIRO
HVI power-leder i støtterør
højspændingsfast isoleret nedleder til opretholdelse
af separationsafstanden til elektrisk ledende dele
iht. DIN EN 62305-3 (VDE 0185-305-3)
Tilsvarende separationsafstand s =< 90 cm (i luft)
eller s =< 180 cm (fast materiale).
Støtterørene med HVI power-lederen er dimensioneret iht.
Eurocode 1 (DIN EN 1991-1-4 + DIN EN 1991-1-4/NA).
HVI power-leder i støtterør, med speciel indvendigt ført
endeafslutning og indfangerstang Ø22/16/10 mm, længde 2500 mm
Materiale (støtterør): GFK / Rustfrit
Længde (støtterør): 3500 mm
Transportlængde: 3500 mm
Diameter Ø leder: 27 mm
Farve (leder): Sort ●
Materiale (leder): Cu
Min. bestillingslængde: 6 m
Max. bestillingslængde: 35 m
Max. frilængde med indfangerstang (vægmontage): 5000 mm
Maks. vindstyrke: (maks. frilængde 5000 mm, 1x HVI power indvendigt) 163 km/t
Standarder: DIN IEC/TS 62561-8 (VDE V 0185-561-8)

fabrikat: DEHN
Type: HVI P 27 L6M SR3500 FS2500 GFK V2A
artikelnr.: 819431
eller tilsvarende

Certificates

 

Technical data

Materiale (støtterør) GFK / Rustfrit
Længde (støtterør) 3500 mm
Transportlængde 3500 mm
Diameter Ø leder 27 mm
Farve (leder) Sort ●
Materiale (leder) Cu
Min. bestillingslængde 6 m
Max. bestillingslængde 35 m
Egnet til lederføring udenpå rør Nej
Max. frilængde med indfangerstang (vægmontage) 5000 mm
Standarder DIN IEC/TS 62561-8 (VDE V 0185-561-8)

Product 819431 was added to Notepad.

Product 819431 was added to the cart.

Part No. 819433 HVI P 27 L6M SR5000 FS2500 GFK V2A

GTIN 4013364155459, Customs tariff No. (EU): 85389099, Gross weight: 21.60 kg, PU: 1.00 Pakkestørrelse


Images

Additional information

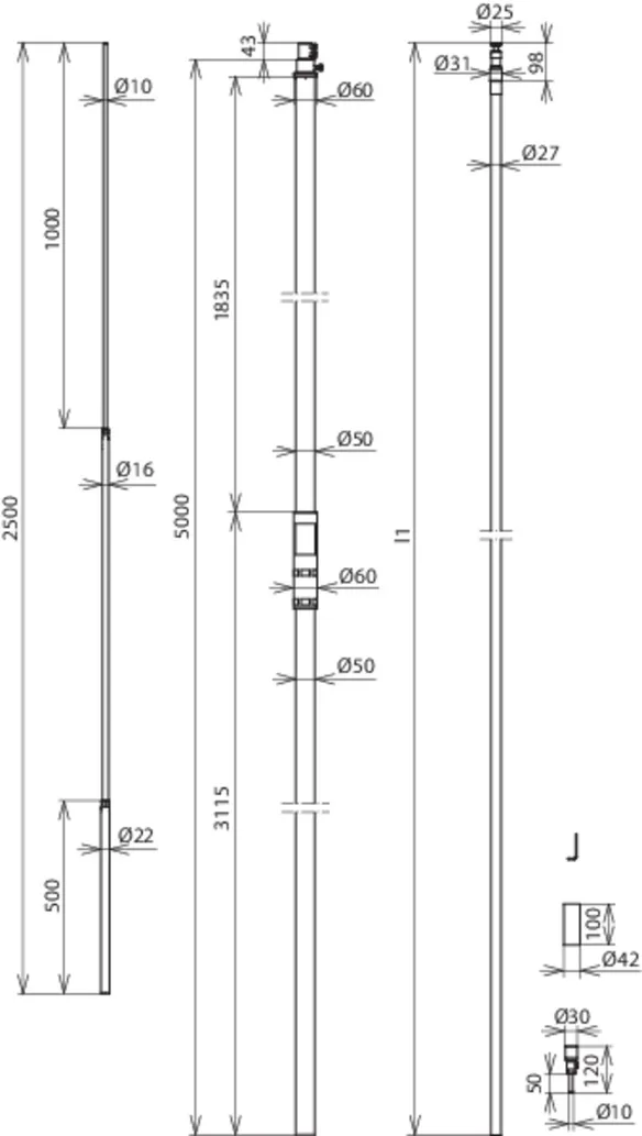
HVI power-leder i støtterør med indfangerstang, længde 5000 mm GFK/NIRO
HVI power-leder i støtterør
højspændingsfast isoleret nedleder til opretholdelse
af separationsafstanden til elektrisk ledende dele
iht. DIN EN 62305-3 (VDE 0185-305-3)
Tilsvarende separationsafstand s =< 90 cm (i luft)
eller s =< 180 cm (fast materiale).
Støtterørene med HVI power-lederen er dimensioneret iht.
Eurocode 1 (DIN EN 1991-1-4 + DIN EN 1991-1-4/NA).
HVI power-leder i støtterør, med speciel indvendigt ført
endeafslutning og indfangerstang Ø22/16/10 mm, længde 2500 mm
Materiale (støtterør): GFK / Rustfrit
Længde (støtterør): 5000 mm
Transportlængde: 5000 mm
Diameter Ø leder: 27 mm
Farve (leder): Sort ●
Materiale (leder): Cu
Min. bestillingslængde: 6 m
Max. bestillingslængde: 35 m
Max. frilængde med indfangerstang (vægmontage): 5500 mm
Maks. vindstyrke: (maks. frilængde 5500 mm, 1x HVI power indvendigt) 159 km/t
Standarder: DIN IEC/TS 62561-8 (VDE V 0185-561-8)

fabrikat: DEHN
Type: HVI P 27 L6M SR5000 FS2500 GFK V2A
artikelnr.: 819433
eller tilsvarende

Certificates

 

Technical data

Materiale (støtterør) GFK / Rustfrit
Længde (støtterør) 5000 mm
Transportlængde 5000 mm
Diameter Ø leder 27 mm
Farve (leder) Sort ●
Materiale (leder) Cu
Min. bestillingslængde 6 m
Max. bestillingslængde 35 m
Egnet til lederføring udenpå rør Nej
Max. frilængde med indfangerstang (vægmontage) 5500 mm
Standarder DIN IEC/TS 62561-8 (VDE V 0185-561-8)

Product 819433 was added to Notepad.

Product 819433 was added to the cart.


back to top