Mise à la terre d’antenne – Technique de communication

Pince à bande pour la liaison équipotentielle à la foudre des tuyaux (par exemple, colonnes d’antenne) selon DIN EN 62305-3 (VDE 0185-305-3).

Avec sangle réglable en continu, convient aux connexions à 1 ou 2 fils et au câblage traversant.

Pinces d'antenne complètes

Connexion pour:
1 conducteur Rd Ø10 mm ou 1-2 conducteurs Rd Ø6-8 mm ou 4-50 mm2 (simple / multifilaire).

2 Products

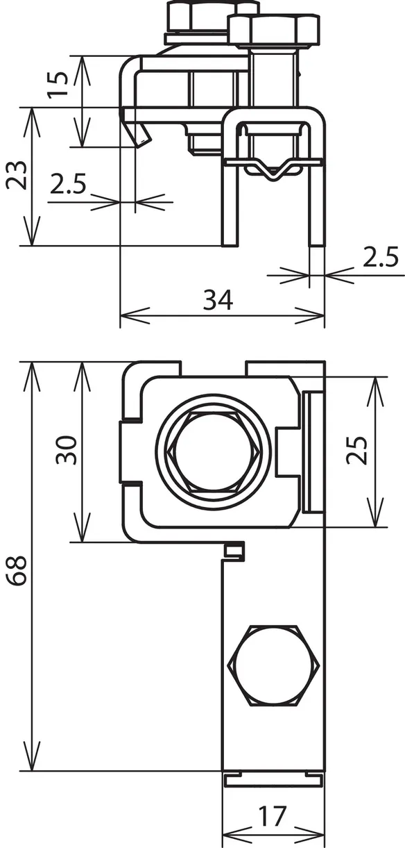
Part No. 540103 BRS 16.89 AK1X10 2X6.8 V2A

GTIN 4013364101302, Customs tariff No. (EU): 85359000, Gross weight: 119.71 g, PU: 10.00 pièce(s)

Predecessor

Images

Additional information

Pince à bande d'antenne NIRO (27-89mm)
Pinces de bande d'antenne pour connexion de transport de courant de foudre
z. B. des bornes-fontaines d'antenne et pour le
Protection contre la foudre équipotentielle
selon DIN EN 62305-3 (VDE 0185-305-3)
Avec sangle réglable en continu, pour 1 ou 2
Connexions du conducteur et câblage traversant
pour le raccordement: 1 conducteur Rd 10 mm,
1 ou 2 conducteurs Rd 6-8 mm ou 4-50 mm2
Matériau: INOX
Plage de serrage - tube Ø: 16-89 mm (3/8-3'')
Vis: M8 x 20 mm
Matériau - vis: INOX
Dimensions - bande: 330 x 25 x 0,3 mm
Normes: NF EN 62561-1

produit : DEHN
Type: BRS 16.89 AK1X10 2X6.8 V2A
Référence: 540103
ou équivalent

Certificates

 

Technical data

Matériau INOX
Plage de serrage - tube Ø 16-89 mm (3/8-3'')
Vis di M8 x 20 mm
Matériau - vis INOX
Dimensions - bande (l1 x l x p) 330 x 25 x 0,3 mm
Normes NF EN 62561-1
*) Pour l’affectation exacte, voir le certificat de contrôle.

Product 540103 was added to Notepad.

Product 540103 was added to the cart.

Part No. 540100 BRS 16.168 AK1X10 2X6.8 V2A

GTIN 4013364094109, Customs tariff No. (EU): 85359000, Gross weight: 133.00 g, PU: 10.00 pièce(s)


Images

Additional information


Matériau: INOX
Plage de serrage - tube Ø: 16-168 mm (3/8-6'')
Vis: M8 x 20 mm
Matériau - vis: INOX
Dimensions - bande: 570 x 25 x 0,3 mm
Normes: NF EN 62561-1

produit : DEHN
Type: BRS 16.168 AK1X10 2X6.8 V2A
Référence: 540100
ou équivalent

Certificates

 

Technical data

Matériau INOX
Plage de serrage - tube Ø 16-168 mm (3/8-6'')
Vis di M8 x 20 mm
Matériau - vis INOX
Dimensions - bande (l1 x l x p) 570 x 25 x 0,3 mm
Normes NF EN 62561-1
*) Pour l’affectation exacte, voir le certificat de contrôle.

Product 540100 was added to Notepad.

Product 540100 was added to the cart.


Tête de serrage séparément

Pour une combinaison avec une sangle de tension sans fin (réf. 540 901).
Connexion pour: 1 conducteur Rd Ø10 mm ou 1-2 conducteurs Rd Ø6-8 mm ou 4-50 mm2 (simple / multifilaire).

1 Product

Part No. 540110 SPK 25 BRS AK1X10 2X6.8 V2A

GTIN 4013364094116, Customs tariff No. (EU): 85359000, Gross weight: 100.00 g, PU: 50.00 pièce(s)


Images

Additional information


Matériau: INOX
Vis: M8 x 20 mm
Matériau - vis: INOX
Normes: NF EN 62561-1

produit : DEHN
Type: SPK 25 BRS AK1X10 2X6.8 V2A
Référence: 540110
ou équivalent

Certificates

 

Technical data

Matériau INOX
Vis di M8 x 20 mm
Matériau - vis INOX
Normes NF EN 62561-1
*) Pour l’affectation exacte, voir le certificat de contrôle.

Product 540110 was added to Notepad.

Product 540110 was added to the cart.


Bande de tension sans fin

Pour couper par exemple avec des cisailles.

1 Product

Part No. 540901 SPB 25X0.3 L100M V2A

GTIN 4013364076525, Customs tariff No. (EU): 73269098, Gross weight: 6.30 kg, PU: 1.00 pièce(s)


Images

Additional information


Matériau: INOX
Dimensions - bande: 25 x 0,3 mm

produit : DEHN
Type: SPB 25X0.3 L100M V2A
Référence: 540901
ou équivalent

Certificates

 

Technical data

Matériau INOX
Dimensions - bande (l x p) 25 x 0,3 mm

Product 540901 was added to Notepad.

Product 540901 was added to the cart.


back to top