Raccords en parallèle pour les zones à risque d'explosion 1/21, 2/21

Raccord en parallèle avec rondelle Grower pour la connexion/le raccordement de conducteurs ronds dans les zones à risque d'explosion 1/22, 2/22. Les bornes sont protégées contre un desserage intempestif selon NF EN 62305-3, annexe 2.

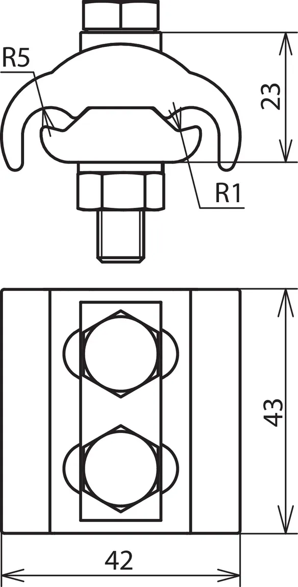
Pour les mêmes diamètres ou diamètres différents (petit)

1 Product

Part No. 306105 PV 5.12.5 SKM8X45 GSG CUGALSN

GTIN 4013364269125, Customs tariff No. (EU): 85369095, Gross weight: 250.00 g, PU: 1.00 pièce(s)


Images

Additional information

Parallelverb. pour différent Seildurchm. grand Cu / gal Sn
Connecteur parallèle pour créer un système d'égalisation de potentiel dans une atmosphère explosive. Étincelle d'allumage testée pour une utilisation dans des atmosphères potentiellement explosives Ex-zone 1 et 2 (gaz du groupe d'explosion IIC) et ex-zones 21 et 22 (poussières). Grande version, pour différents diamètres de câble, avec bague de ferder et deux vis anti-desserrage selon DIN EN 62305-3, supplément 2.
Matériau - borne: Cu/gal Sn
Plage de serrage rd/rd: 5-12,5 mm
Plage de serrage (multi-brins / câble): 16-95 mm2
Normes: en référence à la norme NF EN 62561-1

produit : DEHN
Type: PV 5.12.5 SKM8X45 GSG CUGALSN
Référence: 306105
ou équivalent

Certificates

 

Technical data

Matériau - borne Cu/gal Sn
Plage de serrage rd/rd 5-12,5 mm
Plage de serrage (multi-brins / câble) 16-95 mm2
Courant de choc de foudre (10/350 μs) sans étincelles 25 kA
Courant de court-circuit (50 Hz) (0,1 s) sans étincelles 1,65 kA
Normes en référence à la norme NF EN 62561-1
*) Pour l’affectation exacte, voir le certificat de contrôle.

Product 306105 was added to Notepad.

Product 306105 was added to the cart.


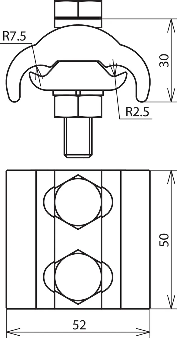
Pour les mêmes diamètres ou diamètres différents (grand)

1 Product

Part No. 306106 PV 5.16 SKM10X50 GSG CUGALSN

GTIN 4013364269149, Customs tariff No. (EU): 85369095, Gross weight: 424.40 g, PU: 1.00 pièce(s)


Images

Additional information

Parallelverb. pour différent Seildurchm. grand Cu / gal Sn
Connecteur parallèle pour créer un système d'égalisation de potentiel dans une atmosphère explosive. Étincelle d'allumage testée pour une utilisation dans des atmosphères potentiellement explosives Ex-zone 1 et 2 (gaz du groupe d'explosion IIC) et ex-zones 21 et 22 (poussières). Grande version, pour différents diamètres de câble, avec bague de ferder et deux vis anti-desserrage selon DIN EN 62305-3, supplément 2.
Matériau - borne: Cu/gal Sn
Plage de serrage rd/rd: 5-16 mm
Plage de serrage (multi-brins / câble): 16-150 mm2
Normes: en référence à la norme NF EN 62561-1

produit : DEHN
Type: PV 5.16 SKM10X50 GSG CUGALSN
Référence: 306106
ou équivalent

Certificates

 

Technical data

Matériau - borne Cu/gal Sn
Plage de serrage rd/rd 5-16 mm
Plage de serrage (multi-brins / câble) 16-150 mm2
Courant de choc de foudre (10/350 μs) sans étincelles 25 kA
Courant de court-circuit (50 Hz) (0,1 s) sans étincelles 1,65 kA
Normes en référence à la norme NF EN 62561-1
*) Pour l’affectation exacte, voir le certificat de contrôle.

Product 306106 was added to Notepad.

Product 306106 was added to the cart.


back to top