Air-Termination Rods GRP/Al

Air-termination rods for erecting isolated air-termination systems, e.g. on flat roofs, installed in a concrete base with fixing wedge.

The material factor km = 0.7 is used to determine the separation distance (length of spacer bar).
Diameter 16 mm, UV-stabilised, light grey colour, permanent temperature range -50 to +100 °C.

The air-termination rods are dimensioned with 2x concrete base (weight 17 kg) as per Eurocode 1 (DIN EN 1991-1-4 + DIN EN 1991-1-4/NA) .
The stackable concrete block (part no. 102 010) and the plastic base plate (part no. 102 050) have to be ordered separately.

The GRP/Al air-termination rods meet the requirements of DIN/IEC TS 62561-8.

Crimped

2 Products

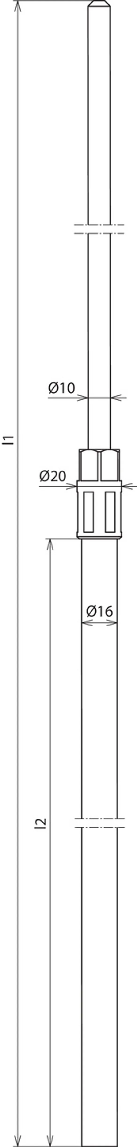
Part No. 106207 FS 16 10 1660 GFK AL

GTIN 4013364127623, Customs tariff No. (EU): 85389099, Gross weight: 493.00 g, PU: 10.00 pc(s)


Images

Additional information

Air-termination rod, GRP/Al, pressed, total length: 1660 mm
GRP/Al air-termination rods installed in a concrete base with fixing wedge
For erecting isolated air-termination systems e.g. on flat roofs
For keeping the separartion distance according to EN 62305-3.
The air-termination rods are dimensioned according to
Eurocode 1 (DIN EN 1991-1-4 + DIN EN 1991-1-4/NA)
Spacer bar made of glass-fibre reinforced plastic (GRP)
Ø16 mm, material factor km = 0.7
UV-stabilised, light grey
Compressed
Total length: 1660 mm
Insulating clearance: 635 mm
Material of air-termination tip / bush: Al
Material of spacer: GRP
Max. gust wind speed (1x base 17 kg, holder distance 1000 mm, Al Ø8 mm): 114 km/h
Max. gust wind speed (2x base 17 kg, holder distance 1000 mm, Al Ø8 mm): 129 km/h
Standard: DIN IEC/TS 62561-8 (VDE V 0185-561-8)

Brand: DEHN
Type: FS 16 10 1660 GFK AL
Part No.: 106207
or equivalent.

Certificates

 

Technical data

Total length (l1) 1660 mm
Insulating clearance (l2) 635 mm
Material of air-termination tip / bush Al
Max. gust wind speed (1x base 17 kg, holder distance 1000 mm, Al Ø8 mm) 114 km/h
Max. gust wind speed (2x base 17 kg, holder distance 1000 mm, Al Ø8 mm) 129 km/h
Standard DIN IEC/TS 62561-8 (VDE V 0185-561-8)

Product 106207 was added to Notepad.

Product 106207 was added to the cart.

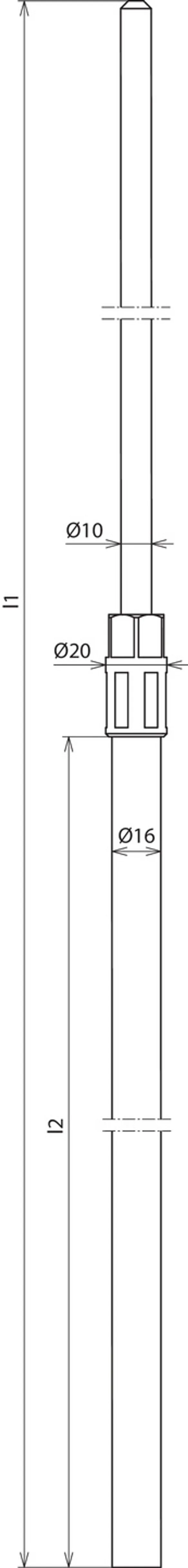
Part No. 106210 FS 16 10 2000 GFK AL

GTIN 4013364127630, Customs tariff No. (EU): 85389099, Gross weight: 625.00 g, PU: 10.00 pc(s)


Images

Additional information

Air-termination rod, GRP/Al, pressed, total length: 2000 mm
GRP/Al air-termination rods installed in a concrete base with fixing wedge
For erecting isolated air-termination systems e.g. on flat roofs
For keeping the separartion distance according to EN 62305-3.
The air-termination rods are dimensioned according to
Eurocode 1 (DIN EN 1991-1-4 + DIN EN 1991-1-4/NA)
Spacer bar made of glass-fibre reinforced plastic (GRP)
Ø16 mm, material factor km = 0.7
UV-stabilised, light grey
Compressed
Total length: 2000 mm
Insulating clearance: 975 mm
Material of air-termination tip / bush: Al
Material of spacer: GRP
Max. gust wind speed (1x base 17 kg, holder distance 1000 mm, Al Ø8 mm): 93 km/h
Max. gust wind speed (2x base 17 kg, holder distance 1000 mm, Al Ø8 mm): 105 km/h
Standard: DIN IEC/TS 62561-8 (VDE V 0185-561-8)

Brand: DEHN
Type: FS 16 10 2000 GFK AL
Part No.: 106210
or equivalent.

Certificates

 

Technical data

Total length (l1) 2000 mm
Insulating clearance (l2) 975 mm
Material of air-termination tip / bush Al
Max. gust wind speed (1x base 17 kg, holder distance 1000 mm, Al Ø8 mm) 93 km/h
Max. gust wind speed (2x base 17 kg, holder distance 1000 mm, Al Ø8 mm) 105 km/h
Standard DIN IEC/TS 62561-8 (VDE V 0185-561-8)

Product 106210 was added to Notepad.

Product 106210 was added to the cart.


Variable with M10 thread

e.g. for air-termination tip (Part No. 101 001), air-termination tip with MV clamp (Part No. 105 071) (for crossing points) or MV clamp for spanning cables (Part No. 105 079).

2 Products

Part No. 106217 DIST 16 M10 675 GFK

GTIN 4013364128811, Customs tariff No. (EU): 85389099, Gross weight: 280.00 g, PU: 10.00 pc(s)

Predecessor

Images

Additional information

Air-termination rod, GRP/Al, with M10 thread, total length: 675 mm
Air-termination rod GRP/Al
in a concrete base with fixing wedge for erecting isolated air-termination systems, e.g. on flat roofs.
For keeping the separartion distance according to IEC 62305-3 (VDE 0185-305-3).
Spacer rod made of glass-fibre reinforced plastic (GRP)
Ø16 mm, material factor km = 0.7
UV-stabilised, light grey
Variable type with M10 thread
e.g. for air-termination tip (Part No. 100 001), air-termination tip with MV clamp (Part No. 105 071)
Total length: 675 mm
Insulating clearance: 635 mm
Material of air-termination tip / bush: Al
Material of spacer: GRP
Standard: DIN IEC/TS 62561-8 (VDE V 0185-561-8)

Brand: DEHN
Type: DIST 16 M10 675 GFK
Part No.: 106217
or equivalent.

Certificates

 

Technical data

Total length (l1) 675 mm
Insulating clearance (l2) 635 mm
Material of air-termination tip / bush Al
Standard DIN IEC/TS 62561-8 (VDE V 0185-561-8)

Product 106217 was added to Notepad.

Product 106217 was added to the cart.

Part No. 106220 DIST 16 M10 1015 GFK

GTIN 4013364128828, Customs tariff No. (EU): 85389099, Gross weight: 410.00 g, PU: 10.00 pc(s)


Images

Additional information

Air-termination rod, GRP/Al, with M10 thread, total length: 1015 mm
Air-termination rod GRP/Al
in a concrete base with fixing wedge for erecting isolated air-termination systems, e.g. on flat roofs.
For keeping the separartion distance according to IEC 62305-3 (VDE 0185-305-3).
Spacer rod made of glass-fibre reinforced plastic (GRP)
Ø16 mm, material factor km = 0.7
UV-stabilised, light grey
Variable type with M10 thread
e.g. for air-termination tip (Part No. 100 001), air-termination tip with MV clamp (Part No. 105 071)
Total length: 1015 mm
Insulating clearance: 975 mm
Material of air-termination tip / bush: Al
Material of spacer: GRP
Standard: DIN IEC/TS 62561-8 (VDE V 0185-561-8)

Brand: DEHN
Type: DIST 16 M10 1015 GFK
Part No.: 106220
or equivalent.

Certificates

 

Technical data

Total length (l1) 1015 mm
Insulating clearance (l2) 975 mm
Material of air-termination tip / bush Al
Standard DIN IEC/TS 62561-8 (VDE V 0185-561-8)

Product 106220 was added to Notepad.

Product 106220 was added to the cart.


back to top